KNOTT Zugkugelkupplung K7,E-C, bis 750 kg, Ø 70 mm, Lochabstand vertikal 90 mm, Bohrungen Ø 12,5 mm, Stützlast 75 kg, Stahl verzinkt
Technische Daten
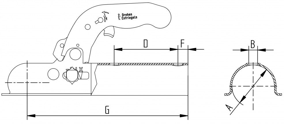
| Bohrung: | 12 mm |
| Zulässiges Gesamtgewicht: | ungebremst 750 kg |
| Durchmesser: | 70 mm |
| Lochabstand: | 90 mm |
| Stützlast: | 75 kg |





